Kennung: 15085
EAN: 8717372052613
Herst.Nr:
FTR330/32
Hersteller: Vetus Marine
Schlauchdurchmesser innen 31,8 mm 1 1/4 zoll
Nutzungskapazität l/min. 143
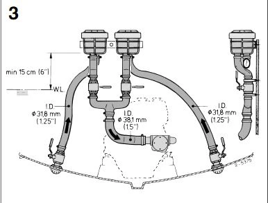
Installation
Der Wasserfilter ist immer oberhalb der Wasserlinie zu montieren und an einem senkrechten Schott zu befestigen.
Am Wassereinlaßflügelrad stets ein Außenbordabsperrventil anbringen!
Für beide Verbindungen, also vom Wassereinlaßflügelrad zum Wasserfilter und vom Wasserfilter zum Motor, immer einen flexiblen Schlauch verwenden.
Keine fett- oder ölhaltigen Produkte, sondern ausschließlich Wasser und/oder Seife benutzen, um den Schlauch leichter an die Schlauchanschlüssen montieren zu können.
Alle Schlauchverbindungen mit Hilfe von 2 Schlauchklemmen aus rostfreiem Stahl befestigen.
— Auf Produktfotos angezeigte Dekorationsartikel gehören nicht zum Leistungsumfang. —















Rezensionen
Es gibt noch keine Rezensionen.